MikroTik S53UG+5HaxD2HaxD-TC&EG18-EA, Chateau LTE18 ax kit
Popis a parametry
MikroTik S53UG+5HaxD2HaxD-TC&EG18-EA, Chateau LTE18 ax kit
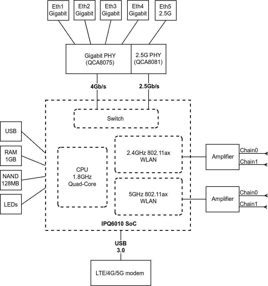
Popis produktu Chateau LTE18 ax je Dual Band 2.4/5GHz Wi-Fi 6 router do domácnosti či malých firem s (4) Gigabit LAN + (1) 2.5-Gigabit porty, LTE18 modemem, jedním USB portem, L4 licencí a extra rychlým 4-jádrovým ARM CPU s taktem 1800 MHz, vnitřním uložištěm 128 MB a 1 GB RAM. Uživatel tak může souběžně používat 2.4GHz kanál pro asociovaná mobilní bezdrátová zařízení a 5GHz kanál mít vyhrazen např. pro TV streamování videa. Modulační rychlost 2.4GHz rádiové části (2x2 MIMO) je 574 Mbps a pro 5GHz (2x2 MIMO) je to 1200 Mbps. Chateau LTE18 ax disponuje čtyřmi vestavěnými anténami pro LTE, dvěmi SMA female konektory pro případný vylepšení LTE dosahu pomocí externích antén a dvěmi anténami pro Wi-Fi, které jsou součástí balení. V případě modelu Chateau LTE18 ax již nadále nemusíte být limitováni kabeláží - výhodou tohoto modelu je velmi široká podpora kanálů v 3G/LTE sítí. Tento LTE router poskytuje rychlost až 1 200 Mbps (download) a 150 Mbps upload s nízkými latencemi v LTE. Obsah balení Zařízení (2) Wi-Fi anténa Napájecí adaptér 24V / 1.2A UTP patch kabel - 1,5m Technické parametry Bezdrátové vlastnosti Bezdrátové frekvence:2.4 + 5 GHz (dual band), 3G (GSM), LTE WiFi standardy:802.11ax, 802.11ac, 802.11n, 802.11a, 802.11b/g Přenosová rychlost - 5GHz [Mb/s]:1201 Přenosová rychlost - 2.4GHz [Mb/s]:574 Vysílací výkon 2.4GHz [dBm]:20 Vysílací výkon 5GHz [dBm]:21 Šifrování:WPA, WPA2, WPA3 2.4GHz MIMO:2 x 2 5GHz MIMO:2 x 2 Typ antény:Vestavěná, Odnímatelná Počet vestavěných antén:4 Počet odnímatelných antén:4 Zisk antény [dBi]:3, 6 Integrovaná 4G/LTE rádiová část:Ano Podporované 4G/LTE kanály:(1) 2100 MHz, (3) 1800 MHz, (5) 850 MHz, (7) 2600 MHz, (8) 900 MHz, (20) 800 MHz, (28) 700 MHz, (38) 2600 MHz, (40) 2300 MHz, (41) 2500 MHz Konektory a rozhraní Počet portů USB 2.0:1 VF konektory:(2) RSMA female, (2) SMA female Rychlost LAN:(1) 1G/2.5Gbps + (4) 10/100/1000Mbps Gigabit LAN:Ano Slot na SIM kartu:Ano Počet SIM slotů:1 USB:Ano Napájení Max. spotřeba energie [W]:16 Napájení přes konektor/svorkovnici:12 .. 28V DC Fyzické charakteristiky Provedení:Desktop Použití:Vnitřní Tlačítka:Reset, mód Provozní teplota [°C]:-40 až 65 Šířka [mm]:240 Výška [mm]:156 Hloubka [mm]:44 Hardware CPU:IPQ-6010 Frekvence CPU [MHz]:1800 Počet CPU jader:4 Interní uložiště [MB]:128 RAM [MB]:1024 Software Operační mód:AP Router, Access Point, 3G/4G Router Operační systém:RouterOS - L4 Podpora IPv6:Ano Výchozí IP adresa:192.168.88.1 Výchozí jméno a heslo:admin / -.
MikroTik S53UG+5HaxD2HaxD-TC&EG18-EA, Chateau LTE18 ax kit
Naposledy navštívené





